上 g&l s-500 wiring diagram 306530-G&l s-500 tribute wiring diagram
MercedesBenz S500 Repair Manual Online MercedesBenz S500 repair manuals are available at the click of a mouse!Thanks in advance I'm also curious if I can have the bridge pickup wired to a tone pot typically with a 0247 cap, and with the bass cut, without the treble cut part of the circuit?Our Wiring Diagrams section details a selection of key wiring diagrams focused around typical Sundial S and Y Plans Wiring Diagrams Contains all the essential Wiring Diagrams across our range of heating controls Click the icon or the document title to download the pdf DOWNLOADS

Gl Guitar Wiring Diagram
G&l s-500 tribute wiring diagram
G&l s-500 tribute wiring diagram-M OVERALL ELECTRICAL WIRING DIAGRAM 1 2 34 51H (Cont next page) 2 IS 300 25A EFI 15A ETCS 1A ALT A AM2 1 4 21D 62E 11O 12C 40A AM1 W–L B F15 FUEL PUMP 7 5A OBD 7 5A IGN 2A 4 2H 13 5 3 1 2 1 2 5 3 2 ACC IG1AM1 4 IG2 ST2 6 7AM2 1I Cowl side panel RH IH 51D 1 EFI RELAY 1 2 2 21G 1 1 V 2 2 11D 21E 10A GAUGE 4 5 M BL Left quarterSay I'm not doing any special wiring except for the G&L PTB wiring instead of usual tone pot wiring, can anyone help me with a wiring diagram?



Three Must Try Guitar Wiring Mods Premier Guitar
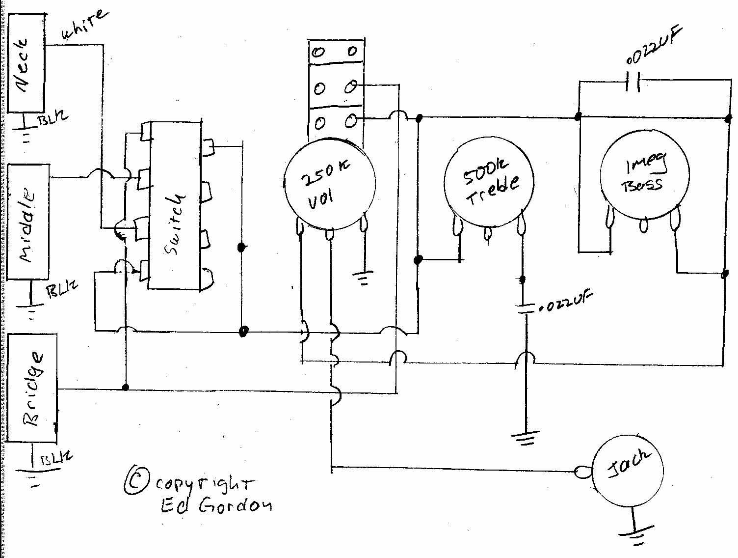
Buy Now https//googl/9HK2W8The G&L S500 was ahead of it's time in the 80's, and it's modern feature set still keeps it running at the front of the pack tHi, I bought a used S500 that had had it's wiring changed to a typical strat style ( the guy did a poor job ) anyway, I want to bring it back to original, and have ordered all new pots and switches so I can start clean In trying to locate an easy to read wiring diagram I had no luck The guitar, I was told is from about 1996 or 97The standard S500 wiring diagram is below The 5way switching is typical of Stratocasters, although the tone controls differ This tone section has both treble and bass controls The G&L circuit also has a "combine" switch that parallels the neck and bridge pickups, but this can be ignored
The G&L Legacy™ blends contemporary refinements from the Leo Fender†designed S500™ and Comanche® models with classic Alnico V pickups If your holy grail is faithful Alnico singlecoil tone with modern refinements and superb craftsmanship, the Legacy makes for an excellent choice The Legacy's vintagespec CLF100 Alnico V pickups have that unmistakable chime and quack reminiscentLatest news New Orders** Due to our Holiday closure any new order placed after December 22, will not be processed or shipped until after January 7, 21For the "Improved Strat" guitars, G&L uses pretty much the same as any other manufacturer for the volume control a 250kΩ Audio Taper potentiometer with some treble bleed capacitor In the wiring harness of the F100 one finds a pF cap but when the S500 was introduced in 19, the value had been upped to 100pF Another difference is the
Dear folks I'm in need of getting the wiring diagram out of the rear SAM fuse box going to the following systems fuel level sensor fuel pump reverse light I have the diagram shows the location of each fuse in the SAM But my challenge is to know how wires go out of the SAM to these 3G&L S500/Commanche Wiring Discussion in 'Stratocaster Discussion Forum' started by RB, Jan 31, 05 Jan 31, 05 #1 that diagram shows a treble & bass cut for the regular strat tone controls which explains alot!THE EMERGENCY BALLAST WIRING GUIDE This Document has been customized to contain a wide library of individual diagrams for various installation applications If a diagram cannot be found within this selection, consult Customer Service The diagrams are categorized primarily according to the number of lamps in the


G L Asat Classic Solamento Solamento Alnico Wiring Diagram



G L S 500 Pickup Adjustments The Gear Page
Note in particular the wiring for the ringer leads, line cord, and line switch In the schematic you will see color designations of R, BK, S, SR, G, and Y These refer to wire colors of Red, Black, Slate (gray), Slate with Red stripe, Green and Yellow, respectivelyI purchased new G&L F100 pickups directly from G&L's website, but they didn't come with any manual for installation Online I found some diagrams and pictures of the original wiring, and when i compared these old examples to the new pickups I see that my new ones have an extra wire and the colors don't match the same configuration as theManuals and User Guides for G&L Tribute Series S500 We have 1 G&L Tribute Series S500 manual available for free PDF download Brochure G&L Tribute Series S500 Brochure (24 pages) G&L Tribute Series S500 Product Brochure Brand G&L


Gear Anyone Like Wiring Mods Super Versatile Tele Guitar



Question On Super Switch Wiring Fender Stratocaster Guitar Forum
8/4/18 Added link to G&L Schematics and Wiring Diagrams from Internet Archive of the July 27, 17 G&L Website glguitars dot com Date 03/10/09 Size 50 items (148 items total)Original equipment G&L pickups Latest news New Orders** Due to our Holiday closure any new order placed after December 22, will not be processed or shipped until after January 7, 21Wiring Diagrams Search the Lutron archive of wiring diagrams To find a diagram for a specific product or system, please use the dropdown menus below 1 Specify the Product or System Find Your Product or System Name 09;



Bass Cut And The G L Ptb System Guitarnutz 2


The G L Discussion Page View Topic Legacy Hb With S 500 Mini Toggle
Ariadni / Toggler dimmer;Wiring Diagram WD VT HSB W/O ENG RUN WIND 0F72 EN Wiring Diagram WD XFER SWITCH 0F9070 EN Wiring Diagram/Schematic Drawing WD S/CYL HSB W/O ENG RUN WIND 0F70 EN Wiring Diagram/Schematic Drawing WS S/CYL HSB W/O ENG RUN WIND 0F71 EN Wiring Diagram/Schematic Drawing WS VT HSB W/O ENG RUN WIND 0F73 EN Wiring DiagramG&L and BBE Wiring Diagrams, Schematics, and Other Documents I was honored to Legacy Bass (and LB) wiring diagram, hand drawn by Paul Gagon items 8/4/ Added link to G&L Schematics and Wiring Diagrams from Internet Archive of the


G L Comanche


Wiring Help With G L Mfd L Series Pickups Preamp In A Jaguar Bass Talkbass Com
Variety of mercedes benz wiring diagram A wiring diagram is a streamlined standard pictorial depiction of an electric circuit It reveals the parts of the circuit as streamlined forms, and also the power as well as signal links between the devicesWiring Diagrams Please choose a year from the menu at left to start your search Skip to content Wiring Diagrams Wiring diagram soundstream rbw 10 97 47re transmission wiring diagram Lucas acr alternator wiring diagram Cub cadet i1046 drive belt diagram 146snq wiring diagramPickup Wire Colors Cross Reference Chart (Wired in standard humbucking mode) Manufacturer Hot Center Tap Ground Anderson Red Green & White Black & Shield Bare Knuckle Red Green & White Black & Shield Bartolini Black Red & White Green & Shield Benedetto Red Black & White Green & Shield B



Three Must Try Guitar Wiring Mods Premier Guitar



G L Wiring Diagrams And Schematics
M OVERALL ELECTRICAL WIRING DIAGRAM 1 2 34 51H (Cont next page) 2 IS 300 25A EFI 15A ETCS 1A ALT A AM2 1 4 21D 62E 11O 12C 40A AM1 W–L B F15 FUEL PUMP 7 5A OBD 7 5A IGN 2A 4 2H 13 5 3 1 2 1 2 5 3 2 ACC IG1AM1 4 IG2 ST2 6 7AM2 1I Cowl side panel RH IH 51D 1 EFI RELAY 1 2 2 21G 1 1 V 2 2 11D 21E 10A GAUGE 4 5 M BL Left quarterMercedes W460 (230G, 230GE, 240GD, 250GD, 280GE, 300GD) FREE Mercedes 230GE Wiring DiagramDownload FREE diagrams, schematics, service manuals, operating manuals and other useful information for a variety of products Currently we have Diagrams, Schematics, Datasheets and Service Manuals from 978 manufacturers, totalling 1622 GB and the range is expanding all the time


Omg Wiring Diagram Ka24de Wiring Harness Diagram Pontloon Tukune Jeanjaures37 Fr



Xe 7098 Reverend Guitar Wiring Diagram Download Diagram
Don't forget the parts/wireshieldingsupplies/">Wire, Solder, Shielding &G&l Wiring Diagrams And Schematics – Bass Wiring Diagram Uploaded by Hadir on Friday, February 15th, 19 in category Wiring Diagram See also Wiring Diagram Of Bass Guitar Wiring Diagram – Bass Wiring Diagram from Wiring Diagram Topic Here we have another image Bass Pickup Wiring Diagram Manual E Books – Bass Wiring Diagram featured under G&l Wiring Diagrams And SchematicsCheck out the wiring diagrams on the G&L forum If I understand correctly there is an extra capacitor in the S500 circuit, as opposed to the Legacy, that is designed to tame the highs from the MFD pickups It might just be a simple fix to remove that from the circuit to get that extra treble


Ebmm Silhouette Special Sss Or Ssh Seymour Duncan User Group Forums



Understanding Guitar Pots And Caps Potentiometers Capacitors Wiring
The reason is mostly the (S sized) MFD pickups They're just ballsier, more of an Outdoor Voice guitar Only G L pickup more audacious is the large MFD on the ASAT Special With a typical Strat single coil, you see Fender S people using "10" on both volume and tone controls With an S500, you gotta dial backOther than the G&L MFDdesign pickups and minitoggle, the S500 is essentially the same guitar as the better known G&L Legacy This guitar comes with G&L's newest neck profile, the Modern Classic Slimmer like the old "Slim C" the Modern Classic has a 95" radius and a 111/16" nut widthThe cost The original G&L scheme calls for alternate pot values, but the project here Diagram 1b shows my adaptation for threeknob humbucker guitars, using the extant k potsJun 11, · I'm looking at some of the G&L PTB wiring diagrams and I'm confused becasue some of them look different and have toggle switches, and the pickup selector is



Bass Contour Circuit G L Reverend Sort Of Thing Guitar Tech Guitar Building Archtop Guitar


Instrument Manuals And Wiring Schematics
Variety of mercedes benz wiring diagram A wiring diagram is a streamlined standard pictorial depiction of an electric circuit It reveals the parts of the circuit as streamlined forms, and also the power as well as signal links between the devicesThe diagrams have been scanned from the originals which were on sheets approximately 12" x 24" Thus, when each sheet is initially opened, the quality may seem poor until the image is zoomed 1979 wiring diagram 12MB 1980 wiring diagram 12MB 1981 wiring diagram 13MB 19 wiring diagram 12MB 19 wiring diagram 11MB 1984 wiring diagram 16 40 TOOLS NEEDED In addition to your regular tools, you will need, at least, the following tools Crimping Tool Note Use a quality tool to avoid overcrimping Wire Stripper Test Light or Volt Meter



Tele Wiring Hb Neck Sc Bridge Thefretboard


Capacitors Planet Z
Wiring the mini toggle into my parts strat config thanks so muchThe cost The original G&L scheme calls for alternate pot values, but the Diagram 1b shows my adaptation for threeknob humbucker guitarsInstrument Manuals and Wiring Schematics 8/4/ Added link to G&L Schematics and Wiring Diagrams from Internet Archive of the July 27, G&L Website glguitars dot comI own an US G&L S500 and love it, but I think I would even love it a little bit more with an humbucker at the bridge position I found a wiring diagram with an additional 2 nF capacitor for using the humbucking option even in split mode and want to try to use it



Fralin Pickups How To Mix Humbucker And Single Coil Pickups


How To Wire A 5 Way Switch For Bridge Neck The Gear Page
Suzuki GSX750 Katana GSX 750 Electrical Wiring Diagram Schematics 1997 1999 HERE Suzuki GSX1100 Katana GSX 1100 Electrical Wiring Diagram Schematics 1984 1986 HERE Suzuki GSX1300 Hayabusa GSX 1300 R Electrical Wiring Diagram Schematics 02 07 HERE Suzuki GSXR600 GSXR 600 Electrical Wiring Harness Diagram Schematics 1997 00 HERERe G&L S500 Wiring Fri Jan 09, 15 735 am While it is good practice in electronics to generally avoid any (ground) conductor loops it's actually completely irrelevant in electric guitar wiringThe G&L Kiloton wiring diagram shows passive volume/tone controls with a series/parallel/single coil pickup mode switch What I'd like to do is replace the existing volume pot with a Noll 250K stacked volume pot, leaving the MFD circuit asis but using the 2nd volume pot to tie in the BigRig pickup Tone would become master tone for both pickups


Stratocaster 7 Tone Push Pull Configuration Question Seymour Duncan User Group Forums


G L Asat Modding Project
Basic Gibson style guitar wiring diagram with 2 humbuckers, 3way Toggle switch, two volumes and two tone controls Typical for Les Paul, SG, 335, and many other Gibsons Click diagram image to open/view full size version Ready to get started?The G&L S500 can feature either an Ash or Mahogany body using a Stratocaster design template It uses three single coil pickups designed by Leo Fender From '92 to '97 it used a threebolt neck before switching to the current fourbolt *Not to be confused with the Tribute S500 (made overseas), which has a far lower market valueTele® Wiring Diagram Les Paul® Wiring Diagram Strat® Wiring Diagram Wire Highest Ohm (K) To Bridge, Lowest to Neck 5Way Switch Vol 250K Tone 2 250K Tone 1 250K GND GND Connect to Bridge Ground To Ouput Jack Black to Ground Black to Ground Black to Ground BRIDGE MIDDLE NECK047uf Pro TubesRed= White= Ground Suggested Pot and Cap Values



Bass Cut And The G L Ptb System Guitarnutz 2


G L S500 Wiring Diagram Wiring Diagrams For Peterbilt Trucks Jimny Wiringdol Jeanjaures37 Fr
G&L S500 Guitars The S500 was Leo Fender's evolved version of the iconic SType Introduced in 19, after almost 40 years the G&L S500 guitars have been further refined to create a nearperfect formulaMercedes Benz S500 Wiring Diagram It is far more helpful as a reference guide if anyone wants to know about the home's electrical system Its components are shown by the pictorial to be easily identifiable is the least efficient diagram among the electrical wiring diagramA wiring diagram is a kind of schematic which uses abstract pictorial symbols to show all the affiliations of components in a system Wiring layouts are made up of 2 things icons that represent the components in the circuit, and lines that stand for the links in between them Wiring Diagram VS Schematics It's very easy to get puzzled


Alternative Wiring For Four Pots And A 3 Way Switch The Gear Page


Found A Major Problem In A Popular Ao28 Wiring Diagram The Organ Forum
In the table below you can see 3 S 500 Workshop Manuals,0 S 500 Owners Manuals and 1 Miscellaneous Mercedes S 500 downloads Our most popular manual is the S 500 Sedan () V850L () (1996)Listed below is the vehicle specific wiring diagram for your car alarm, remote starter or keyless entry installation into your Mercedes Benz S 500This information outlines the wires location, color and polarity to help you identify the proper connection spots in the vehicleThe G&L Legacy™ blends contemporary refinements from the Leo Fender†designed S500™ and Comanche® models with classic Alnico V pickups If your holy grail is faithful Alnico singlecoil tone with modern refinements and superb craftsmanship, the Legacy makes for an excellent choice The Legacy's vintagespec CLF100 Alnico V pickups have that unmistakable chime and quack reminiscent


G L Legacy Hss Guitar Chrome Pickguard Stainless Steel Hb Super Mirror Metal Guard Pro Steel Pickguards


Unique Wiring Telecaster Guitar Forum
Kawasaki BN125 Eliminator 125 Electrical Wiring Diagram Schematic 1998 06 HERE Kawasaki EN500 Vulcan 500 LTD Electrical Wiring Diagram Schematic 1996 09 HERE Kawasaki ER250 ER 250 Electrical Wiring Harness Diagram Schematic HERE Kawasaki ER500 ER5 ER 500 Electrical Wiring Harness Diagram Schematic 02 06 HERE Kawasaki ER650 ER6n ER 650 Electrical Wiring Harness Diagram Schematic HEREComplete Wiring Diagram of G&L L00 Passive Discussion in 'G&L Bass Forum' started by Green_bass9, May 29, 07 May 29, 07 #1 Green_bass9 May 29, 07Chilton's MercedesBenz S500 online manuals provide information for your car's diagnostics, doityourself repairs, and general maintenance Chilton's MercedesBenz S500 repair manuals include diagrams, photos, and instructions you need to assist you in doityourself S500



Neck And Bridge Pickups Together Fender Stratocaster Guitar Forum



G L Wiring Diagrams And Schematics


Anyone Have A Shot Of A Reverend S Wiring Re Bass Contour Telecaster Guitar Forum


G L Comanche


Question Wiring Up My Strat Tone Controls Guitar


Found A Major Problem In A Popular Ao28 Wiring Diagram The Organ Forum



Et 1437 Fenderr Forums O View Topic Super Switch Wiring For A Strat Wiring Diagram


Instrument Manuals And Wiring Schematics



Gl Guitar Wiring Diagram


Two Band Ptb Tone Control Useful Easy Cheap Awesome Tonefiend Com



Gl Guitar Wiring Diagram



Three Must Try Guitar Wiring Mods Premier Guitar


Tone Planet Z



2 P 90 Wiring 1 Vol 1 Tone Buscar Con Google Handmade Guitar Guitar Tech Telecaster Guitar



Fralin Pickups How To Mix Humbucker And Single Coil Pickups


Wiring Diagram The Gear Page



G L Wiring Diagrams And Schematics


Two Band Ptb Tone Control Useful Easy Cheap Awesome Tonefiend Com


The G L Discussion Page View Topic Help With S 500 Wiring



Three Must Try Guitar Wiring Mods Premier Guitar



Wiring Diagram The Gear Page



Trying To Install New Pu In G L Asat Someone Help Fractal Audio Systems Forum


Comanche Wiring Diagram


Series Wiring Fatten Up Strats And Teles


Instrument Manuals And Wiring Schematics



Diy Guitar Shielding Home Page



Wiring Diagrams Seymour Duncan Seymour Duncan Seymour Duncan Wire Making Musical Instruments



G L Guitar Wiring Diagram 1999 Mountaineer Fuse Box Controlwiring Yenpancane Jeanjaures37 Fr



Tone Knob Variant Gretsch Talk Forum


Esquire Wiring Simple Which Telecaster Guitar Forum



G L Wiring Diagrams And Schematics


Hh Ptb 5 Way 4 Pole Guitarnutz 2


The G L Discussion Page View Topic S 500 Schematic Help Me Understand


Alembic Club G L L 1000


Usa Legacy Wiring Picture Diagram



Bass Contour Circuit G L Reverend Sort Of Thing Guitar Tech Guitar Building Archtop Guitar



A Guide To Jazzmaster Upgrades Mods Unique Features Reverb News



New Rothstein Jazzmaster Stb Super Mod Wiring Reverb


The G L Discussion Page View Topic G L S 500 Wiring


G L S500 Wiring Diagram Wiring Diagrams For Peterbilt Trucks Jimny Wiringdol Jeanjaures37 Fr


Wiring Help With G L Mfd L Series Pickups Preamp In A Jaguar Bass Talkbass Com



G L Wiring Diagrams And Schematics


G L Tribute Legacy Alnico Pups Waaaaay Too Trebly Music Electronics Forum


Rothstein Guitars Serious Tone For The Serious Player


Rothstein Guitars Serious Tone For The Serious Player



G L Pickup Question Fender Stratocaster Guitar Forum


Gl Guitar Wiring Diagram



Vintage 19 G L L 00e Preamp Pots Knobs Switches Reverb



39 Guitar Schematic Ideas Guitar Guitar Diy Guitar Tech


Wiring Help With G L Mfd L Series Pickups Preamp In A Jaguar Bass Talkbass Com



Three Must Try Guitar Wiring Mods Premier Guitar



Two Band Ptb Tone Control Useful Easy Cheap Awesome Tonefiend Com


What The Bleedin Treble Planet Z



Fw 6339 Strat Wiring Please Help The Gear Page Download Diagram



Sf 2853 Wiring Diagram Moreover Gibson Les Paul Wiring Diagram Further Emg Download Diagram


G L S 500 Pickup Adjustments The Gear Page


G L Asat Opinions Page 2


Wiring Diagram The Gear Page



G L Wiring Diagrams And Schematics


G L Tribute Legacy Alnico Pups Waaaaay Too Trebly Music Electronics Forum



Gl Guitar Wiring Diagram


Q Tbn And9gctzuwdbj0lqltchel0v81cqyio Y Njwe59l3wmtb1pdn3cwvk7 Usqp Cau



G L Wiring Diagrams And Schematics


Wiring Help With G L Mfd L Series Pickups Preamp In A Jaguar Bass Talkbass Com



G L Pickup Question Fender Stratocaster Guitar Forum



Simple Guitar Wiring Diagrams 05 Toyota Tundra Stereo Wiring Diagram Ak21 Au Delice Limousin Fr


Treble And Bass Planet Z



Gl Guitar Wiring Diagram


Alembic Club G L L 1000


Legacy Special Picture Diagram



G L Wiring Diagrams And Schematics


Links Schematics


Rothstein Guitars Serious Tone For The Serious Player
コメント
コメントを投稿